记对某系统的一次测试
第一次写文章,有不足的地方请各位师傅指正首先通过前期的信息收集得到了站点目标目标站点长这样,还是熟悉的登录框,此时我的思路是,爆破管理员的用户名和密码,但这里登录的方式很明显是通过手机号来登录的,也就 2023-3-6 08:11:40 Author: 系统安全运维(查看原文) 阅读量:37 收藏

第一次写文章,有不足的地方请各位师傅指正

首先通过前期的信息收集得到了站点目标

目标站点长这样,还是熟悉的登录框,此时我的思路是,爆破管理员的用户名和密码,但这里登录的方式很明显是通过手机号来登录的,也就是说还得知道管理员的手机号码才能进行爆破,难度有点大,先放弃这种方法,常规的话如果知道了管理员的用户名,还能去测一下找回密码处,是否有逻辑漏洞,因为本人信息收集能力不信,收集不到管理员的手机号码,所以爆破和找回密码这个点先放弃。

上述的两个点都没法测试,此时我就可以试试目录扫描,利用目录扫描工具,看看是否有备份的源码,或者一些未授权的目录



扫描一波过后也并没有发现可利用的点,然后我就想着去找一下js里面是否有未授权的接口,直接使用F12大法来分析一波,然后这里找了半天找到了一个似乎是获取用户列表的一个接口



然后这里直接拼接访问一下




这里出现了提示,说不允许get方法进行请求,那我改成post的方法试试




看到回显的返回包,我心中窃喜,大概率是有戏的,这里提示我们的是请求参数缺失,pageIndex参数为空,那么我们可以直接构造一个pageIndex参数传过去看看




接着提示我们pageSize为空,说明之前的传参是成功的了,接下来继续构造pageSize参数,然后提示我pageSize为空,继续构造后,发包




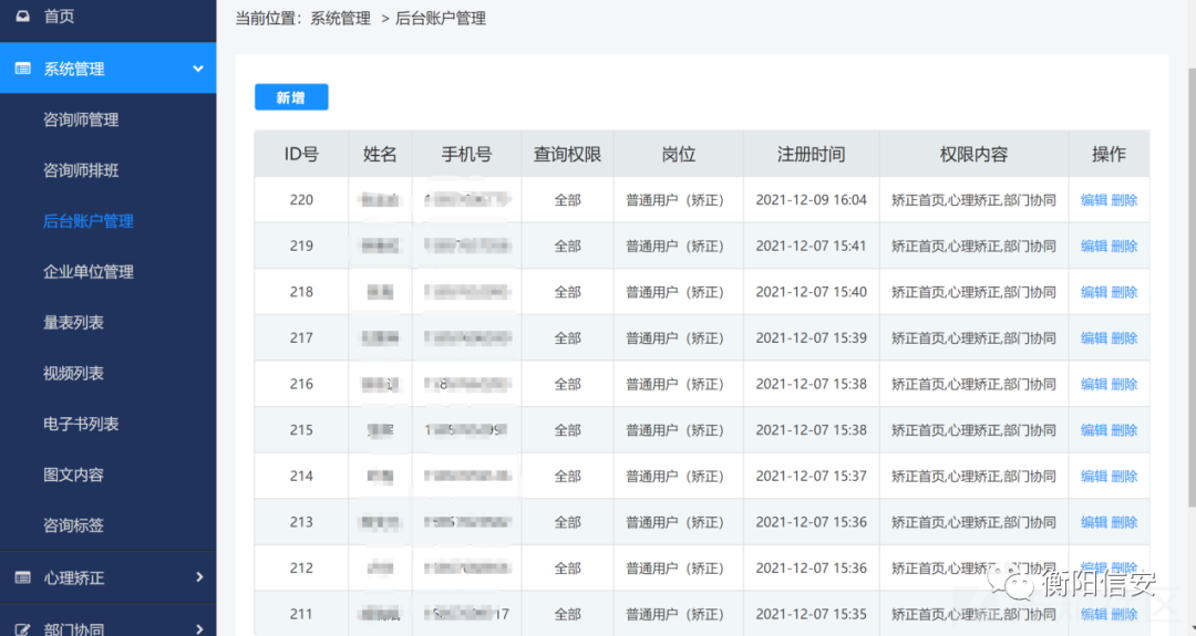
这里成功的返回了数据,返回了一个测试的账号,那么此时我们就有了账号了,可以对该测试账号进行爆破,但我想的是,既然一个接口出现了未授权,那很大概率这个系统的所有接口基本上也都是未授权,接下来,我继续从JS里面寻找接口,找到了一个/bear-scale/mip/scaleSystemUser/getScaleSystemUserList.json 的接口,按照之前的方法构造参数请求



该接口返回了全站用户的手机号码和MD5加密的密码,密文解密为123456




发现全站用户的默认密码为123456,但可惜的是,该接口只能获取到普通用户的用户名和密码,并没有返回管理员的,于是又继续找接口,在一个接口中,成功返回了管理员的手机号码,但是没有返回加密的MD5密码,但前面已经知道了,全站的默认密码为123456,于是就试了一下成功登录


后续看了下上传接口,白名单限制太死,没法上传shell
本次测试结束,各位师傅一定要遵纪守法,不对没有授权的站点进行测试
来源:先知(https://xz.aliyun.com/t/11451#toc-0)
如有侵权,请联系删除

好文推荐

红队打点评估工具推荐
干货|红队项目日常渗透笔记
实战|后台getshell+提权一把梭
一款漏洞查找器(挖漏洞的有力工具)
神兵利器 | 附下载 · 红队信息搜集扫描打点利器
神兵利器 | 分享 直接上手就用的内存马(附下载)
推荐一款自动向hackerone发送漏洞报告的扫描器
欢迎关注 系统安全运维

文章来源: http://mp.weixin.qq.com/s?__biz=Mzk0NjE0NDc5OQ==&mid=2247518491&idx=2&sn=752cd774e3f254c2ee839c9867c92220&chksm=c3085a6bf47fd37d859e310c3aafdd7156e9666a248681fb7e4e315ec9a0549789ba09c78b4a#rd
如有侵权请联系:admin#unsafe.sh